|
|
 |
 |
| 名称:Z15W 不锈钢闸阀 |
|
产品介绍:
Z15W不锈钢闸阀(丝口内螺纹不锈钢闸阀)适用温度-20~180℃,压力范围1.6Mpa,适用介质水、蒸汽、油品,公称通径15-50mm,主体材料不锈钢,连接形式螺纹。适用范围用于国防、科研、航天、电子、机械、冶金、石油,化工,能源、环保、生物医药、制冷、食品等各种领域。
- 结构简单,制造和维修比较方便。
- 工作行程小,启闭时间短。
- 密封性好,密封面间磨擦力小,寿命较长。
- 不适用于带颗粒、粘度较大、易结焦的介质。
设计与制造:GB12234
螺纹端尺寸:GB/T7306
结构长度:GB12221
压力~温度:GB9131
检验与试验:GB13927
Z15W不锈钢闸阀产品性能规范
| 型号 |
PN |
工作压力 (MPa) |
适用温度 (℃) |
适用介质 |
| Z15W-16R |
16 |
1.6 |
-20~180 |
水、轻微腐蚀性气液体、饱和蒸汽、直接饮水 |
| Z15W-16P |
Z15W不锈钢闸阀产品零部件材质
| 名称 |
阀体、阀盖、闸板 |
阀杆 |
密封面 |
填料 |
| 材料 |
不锈钢 |
不锈钢 |
不锈钢 |
膨胀石墨 |
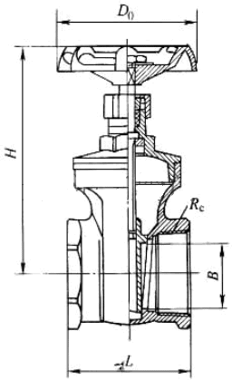
Z15W不锈钢闸阀产品外形尺寸 (mm)
| DN |
Rc/in |
L |
B |
H |
D0 |
| 15 |
Rc1/2 |
56.5 |
15 |
94 |
70 |
| 20 |
Rc3/4 |
60 |
20 |
102 |
70 |
| 25 |
Rc1 |
68 |
25 |
114 |
80 |
| 32 |
Rc1 1/4 |
75.5 |
32 |
124 |
80 |
| 40 |
Rc1 1/2 |
80 |
40 |
152.5 |
100 |
| 50 |
Rc2 |
90.5 |
50 |
169.5 |
100 |
【产品外形和结构尺寸示意图】

|
| 【我要订购】 【关闭】 |
|
|
|
|